Tipologie di taglio
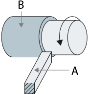
Il taglio è una tecnica in cui l'operatore muove un materiale (ad esempio un pezzo di metallo) e l'utensile uno rispetto all'altro al fine di modellare il pezzo nella forma desiderata attraverso la rasatura, la foratura, ecc. Il taglio può essere a grandi linee diviso in due metodi: la fresatura, dove il pezzo viene trattenuto mentre gli utensili ruotano, e la tornitura, dove invece a ruotare è il pezzo.
- Fresatura
- L'utensile ruota

- Tornitura
- Il pezzo ruota

- A
- Utensile
- B
- Pezzo
Questa sezione presenta la fresatura come tipico esempio di lavorazione con utensile rotante, e la tornitura come tipico esempio di lavorazione con pezzo rotante, oltre alle relative macchine utensili.
1. Fresatura
La fresatura viene eseguita ruotando un utensile da taglio chiamato fresa montata su un mandrino. Poiché l'utensile entra in contatto in modo intermittente con il pezzo bloccato per tagliarlo, sono possibili diversi tipi di lavorazioni, incluso il taglio di piani piatti o curve nella superficie del pezzo, o l'alesatura o scanalatura del pezzo.
Sono disponibili diversi tipi di frese a seconda dell'orientamento del mandrino: macchine orizzontali, macchine verticali e macchine a portale, che presentano un corpo principale a forma di porta. Utilizzando utensili come frese da spianatura, frese a codolo e frese a disco per scanalature, queste macchine tagliano i materiali nella forma desiderata.



[1] Fresatura per uso generico
La fresatura per uso generico riguarda l'operazione di fresatura eseguita da un operatore. Spostando l'utensile e il pezzo l'uno rispetto all'altro, l'operatore determina e imposta le condizioni di taglio, compresa la posizione dell'utensile e l'avanzamento, la velocità e le profondità di taglio. Questo metodo manuale garantisce una finitura estremamente precisa e di alta qualità.
2] Fresatura a controllo numerico (fresatura CNC)
La fresatura a controllo numerico comporta condizioni di taglio controllate da un computer. Prima del controllo numerico (CN), per il controllo del programma di fresatura venivano utilizzate delle schede perforate. Oggi, il controllo numerico computerizzato (CNC) è diventato comune e il termine "fresatura a controllo numerico" comprende spesso anche quella tramite computer. L'operazione automatizzata riduce la manodopera coinvolta nel processo e consente di tagliare forme più complesse attraverso il controllo programmato utilizzando software CAM o CAD 3D.
[3] Centri di lavoro
Un centro di lavoro è una macchina a controllo numerico multifunzionale che dispone di mandrini multipli su cui sono montati diversi utensili, compresi quelli di fresatura. L'uso di un centro di lavoro permette di combinare in serie movimenti lineari e rotativi per il taglio continuo come l'alesatura e la spianatura per creare forme più complesse.
Fare clic qui per maggiori informazioni sui centri di lavoro
[4] Dentatrici a controllo numerico
Le dentatrici a controllo numerico computerizzato possono tagliare denti di qualsiasi forma, dimensione o per qualsiasi scopo, per ingranaggi che è possibile trovare in oggetti di uso quotidiano, dagli orologi alle automobili.
Fare clic qui per maggiori informazioni sulle dentatrici a controllo numerico
2. Lavorazioni al tornio
Nella lavorazione al tornio, il taglio viene eseguito ruotando un pezzo cilindrico fissato in un mandrino e che entra in contatto con l'utensile da taglio chiamato inserto. Utilizzando un tornio, la periferia di un pezzo cilindrico può essere resa circolare, rastremata, forata, alesata per allargare un foro, filettata o tagliata mediante scanalatura.



- A
- Utensile
- B
- Pezzo
[1] Tornio per uso generico
Con i torni per uso generico, l'operatore esegue manualmente le operazioni di avanzamento e sostituisce gli utensili. Il pezzo è tenuto in posizione da un portautensile chiamato mandrino e viene fatto ruotare rapidamente per il taglio. Con un tornio da banco è possibile lavorare pezzi piccoli su un banco da lavoro.
[2] Tornio a controllo numerico (tornio CNC)
Il controllo delle condizioni di lavorazione del tornio tramite un computer permette anche ai principianti di creare prodotti con un certo livello di qualità. Per migliorare l'efficienza del lavoro, alcuni modelli supportano anche il cambio automatico di più utensili.
I torni automatici a camme erano tradizionalmente usati per fabbricare prodotti della stessa forma a partire da un materiale in sbarre lunghe, come un salame tagliato a fette. Negli ultimi anni, tuttavia, nei torni automatici a controllo numerico le camme sono state sostituite dal controllo programmato.


