Comparatori ottici
Panoramica
I comparatori ottici sono un tipo di strumento di misurazione ottico. Il principio di misurazione è simile a quello dei microscopi ottici. Il target viene poggiato sul piatto e viene illuminato da sotto. In questo modo il profilo o l'ombra del target vengono proiettati sullo schermo. Per consentire misurazioni accurate viene utilizzato un sistema ottico telecentrico.
I comparatori ottici sono stati originariamente sviluppati per ispezionare i contorni dei target. In seguito sono apparsi modelli dotati di funzioni di misurazione. Alcuni grandi comparatori ottici hanno un diametro dello schermo superiore a 1 m.
Quelli che seguono sono alcuni vantaggi dei comparatori ottici.
- Misurazione senza contatto del target.
- La misurazione è possibile anche per target con forme piccole o complesse.
- A differenza dei microscopi di misurazione, non occorre guardare attraverso una lente oculare, il che consente a più persone contemporaneamente di effettuare le osservazioni.
L'uso di comparatori ottici è molto diffuso nell'ispezione e nella misurazione di oggetti quali componenti elettronici e componenti di precisione. Un tempo, il riferimento dei dati e il posizionamento del target erano laboriosi e richiedevano tempo.
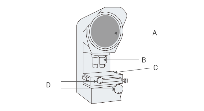
Costruzione e applicazioni

- A
- Schermo di proiezione
- B
- Lente di proiezione
- C
- Piatto mobile
- D
- Maniglie per spostare il piatto (maniglie X e Y)
Come usare un comparatore ottico
- Collocare il target sul piatto.
- Posizionare la scala sull'immagine ingrandita proiettata sullo schermo, quindi misurare le dimensioni. Il piatto XY può essere utilizzato anche per misurare le dimensioni in base al movimento del piatto.
- Alcuni comparatori ottici utilizzano una scala che viene letta bloccando il target. Con questi comparatori ottici, la lunghezza viene letta da una scala tra una coppia di linee di lettura.
Precauzioni per l'uso
- L'intervallo di calibrazione dei comparatori ottici è compreso tra 6 mesi e 3 anni.
I comparatori ottici di ultima generazione
I recenti modelli di comparatori ottici sono in grado di misurare istantaneamente le dimensioni senza muovere il piatto XY o mettere a fuoco, il che consente la misurazione di molti oggetti in poco tempo.
Per ulteriori informazioni sull'ultimo comparatore ottico KEYENCE in grado di effettuare 1000 misurazioni in 3 secondi, fare clic qui.



