Osservazione e analisi della corrosione
I materiali metallici, utilizzati nelle automobili e in vari altri prodotti, possono corrodersi drasticamente in aree inaspettate e causare fratture.
L'analisi delle parti corrose è importante per determinarne le cause e prevenirne il ripetersi; i microscopi vengono utilizzati per osservare le forme delle parti corrose. L'osservazione con microscopi tradizionali, tuttavia, presenta diversi problemi.
Questa sezione spiega la procedura di prova di corrosione e le forme e le cause della corrosione, introducendo esempi di utilizzo di un microscopio digitale 4K per risolvere i problemi.

- Importanza e procedura del test di corrosione
- Forme, esempi e cause della corrosione locale
- Esempi reali di problemi risolti nelle prove di corrosione
- Un microscopio che cambia i test di corrosione
Importanza e procedura del test di corrosione
La corrosione si riferisce al fenomeno per cui materiali metallici e altri materiali solidi si deteriorano, si consumano o si danneggiano a causa di reazioni chimiche o elettrochimiche con l'ambiente circostante, portando alla perdita delle funzioni originali. Esistono varie forme di corrosione, come la corrosione intergranulare, la vaiolatura, la corrosione interstiziale, la corrosione per contatto e la cricca da tensioni (cricca trans granulare e cricca al limite dei grani), tutte diverse a seconda del materiale e dell'ambiente.
Per studiare le cause della corrosione e prevenirne il ripetersi, vengono condotti test di corrosione in un'ampia gamma di settori. In particolare, i test di corrosione sono importanti in prodotti, come le automobili, che sono composti da vari materiali e la cui sicurezza è richiesta in diversi ambienti esterni.
In generale, i test di corrosione sono condotti secondo la seguente procedura.
Procedura di prova della corrosione
- Osservazione dell'aspetto dell'area in cui si è verificata la corrosione
- Controllo dell'area in cui si è verificata la corrosione, il colore dell'elemento e lo stato delle parti corrose.
- Osservazione mediante taglio o rimozione delle parti corrose
- Taglio delle parti corrose. Se è difficile tagliarle, rimuovere solo le parti corrose.
- Osservazione dettagliata delle parti corrose e analisi elementare delle sostanze corrose
- (1) Utilizzando un microscopio, osservazione della superficie delle parti corrose in dettaglio per verificare lo stato delle parti e delle sostanze corrose. In alcuni casi, le parti corrose vengono pulite per verificare la presenza di vaiolatura e di altri tipi di corrosione sulla superficie del substrato.
(2) Analisi dei costituenti delle sostanze corrose (analisi degli elementi) per confermare la sostanza che promuove la corrosione. - Osservazione in sezione delle parti corrose
- Se necessario, lavorare le parti corrose in campioni trasversali per verificare l'avanzamento della corrosione. L'analisi della composizione (analisi degli elementi) può essere condotta anche per una sezione trasversale.
Forme, esempi e cause della corrosione locale
Molti problemi legati alla corrosione sono causati da corrosione locale che si verifica in luoghi in cui è difficile prevedere il suo tasso di sviluppo. Inoltre, i danni al rivestimento protettivo delle superfici metalliche possono causare corrosione locale, con conseguenti danni locali.
Di seguito sono descritte le forme e le cause tipiche della corrosione locale che può causare danni.
Corrosione intergranulare

- A. Corrosione intergranulare
- B. Shedding
- Fenomeno: corrosione causata da impurità e inclusioni sui bordi dei grani con basso potenziale di corrosione. Può verificarsi anche lo shedding, in cui la corrosione intergranulare provoca la caduta dei grani.
- Esempi: questo fenomeno si verifica nei punti in cui l'acciaio inossidabile o le leghe di alluminio non sono stati trattati termicamente in modo adeguato o sufficiente. Si verifica anche nelle zone interessate dal calore di saldatura.
- Cause:
dal punto di vista del materiale: Ridotta concentrazione di cromo ai bordi dei grani, segregazione dei costituenti in tracce ai bordi dei grani, depositi ai bordi dei grani, ecc.
Vaiolatura

- A. Vaiolatura
- B. Film di passivazione
- Fenomeno: corrosione che si verifica in punti molto limitati delle superfici metalliche mantenendo uno stato passivo (film di passivazione) che procede in profondità in un foro di piccolo diametro.
- Esempi: un film di passivazione danneggiato localmente da ioni alogeni (come il Cl-), con conseguente corrosione a forma di foro. Questo è dovuto alla non uniformità dei metalli, come le inclusioni non metalliche nella soluzione acquosa di cloruro di acciaio inossidabile e leghe di alluminio.
- Cause:
per quanto riguarda l'ambiente: ioni alogeni, ossigeno disciolto.
Dal punto di vista del materiale: inclusioni, difetti, ecc.
Corrosione interstiziale

- A. Corrosione interstiziale
- B. Film di passivazione
- Fenomeno: corrosione causata dalla mancanza di ossigeno disciolto nelle fessure, che danneggia le pellicole di passivazione sulle superfici metalliche, causando la fusione dei metalli.
- Esempi: questo fenomeno si verifica sulle facce delle flange in acciaio inox, alluminio e titanio.
- Cause:
dal lato della struttura/materiale: struttura interstiziale, incrostazioni ossidate, ecc.
Dal lato dell'ambiente: ioni alogeni, ossigeno disciolto (la fase di crescita è la stessa della vaiolatura).
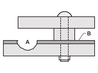
Corrosione da contatto (corrosione da contatto bimetallica e corrosione galvanica)

- A. Parte corrosa
- B. Metallo di base
- C. Metallo nobile
- Fenomeno: corrosione che si verifica e viene promossa sui metalli di base a causa del contatto tra metalli con potenziali elettrodici diversi e dell'esistenza di una soluzione elettrolitica sul punto di contatto.
- Esempi: il contatto tra alluminio e rame corrode l'alluminio, mentre il contatto tra acciaio e acciaio inossidabile corrode l'acciaio.
- Cause:
dal lato del materiale: contatto tra metalli con potenziali elettrici diversi.
Cricca da corrosione sotto sforzo
- Fenomeno: corrosione causata da sollecitazioni di trazione (sollecitazioni residue o sollecitazioni di carico esterne), che danneggiano localmente il rivestimento protettivo della superficie. L'avanzamento concentrato della corrosione porterà alla formazione di cricche.
- Tipi di forme di cricche: dal momento che il percorso della cricca da tensocorrosione varia a seconda della combinazione di metallo e ambiente, esistono anche differenze nelle forme della cricca.
Una cricca transgranulare procede attraverso i grani, mentre una cricca al bordo del grano procede lungo i bordi dei grani. - Cause:
cricca transgranulare: inclusioni, depositi, rivestimento superficiale, difetti del materiale, ecc.
Fessurazione del bordo del grano: bordi dei grani di oligoelementi, segregazione, strati di cromo impoveriti, depositi ai bordi dei grani, irregolarità ai bordi dei grani, ecc.


Esempi reali di problemi risolti nelle prove di corrosione
Dal momento che le cause della corrosione possono essere identificate in base alle forme di corrosione, l'osservazione dell'aspetto e l'osservazione dettagliata con l'ausilio di microscopi sono importanti per i test di corrosione.
Le parti corrose presentano forme tridimensionali, quindi l'osservazione delle parti corrose con i microscopi tradizionali presenta diversi problemi, ad esempio nella regolazione della messa a fuoco e nelle condizioni di illuminazione. Inoltre, a volte è difficile osservare in dettaglio la corrosione intergranulare o le cricche da corrosione a causa della risoluzione insufficiente.
Il microscopio digitale 4K ad altissima definizione della Serie VHX di KEYENCE utilizza un obiettivo ad alta risoluzione, un CMOS 4K e un sistema di osservazione appositamente progettato. Queste e altre tecnologie integrate non solo risolvono i problemi dei microscopi tradizionali, ma consentono anche un'osservazione e un'analisi accurate e rapide con un funzionamento semplice, utilizzando immagini 4K ad alta risoluzione.
Questa sezione presenta alcuni esempi di applicazione del microscopio digitale multifunzione Serie VHX 4K, con particolare attenzione alla risoluzione dei problemi dei microscopi tradizionali nell'analisi di parti corrose.
Osservazione dei bordi dei grani mediante immagini ad alta precisione e risoluzione
Problemi tradizionali con i microscopi
L'insufficiente risoluzione nell'osservazione ad alto ingrandimento impedisce una chiara osservazione dei bordi dei grani e della corrosione intergranulare che vi si verifica.
Con il microscopio digitale 4K Serie VHX
L'obiettivo ad alta risoluzione e il CMOS 4K consentono l'osservazione con immagini 4K ad alta risoluzione e ad alta definizione anche nell'osservazione ad alto ingrandimento dei bordi dei grani.
È quindi possibile osservare in dettaglio la corrosione intergranulare, lo shedding e le cricche da tensocorrosione (cricche transgranulari e cricche ai bordi dei grani) con immagini chiare.


Osservazione completamente focalizzata della totalità di una parte corrosa tridimensionale
Problemi tradizionali con i microscopi
Dal momento che le parti corrose sono tridimensionali, è possibile mettere a fuoco solo una parte dell'obiettivo alla volta a causa dei limiti della profondità di campo dei microscopi tradizionali, che impediscono l'osservazione mentre si segue l'intera immagine. Questo causa problemi come la presenza di risultati di valutazione diversi tra gli operatori e l'omissione di dettagli.
Con il microscopio digitale 4K Serie VHX
L'obiettivo ad alta risoluzione che consente una lunga profondità di campo e un'osservazione dettagliata, il CMOS 4K e la composizione della profondità in tempo reale consentono di ottenere istantaneamente un'immagine 4K ad alta definizione, con l'intero obiettivo completamente a fuoco, attraverso semplici operazioni.
Non è necessario regolare la messa a fuoco per ogni punto di osservazione, consentendo una rapida osservazione da qualsiasi angolazione.

Sinistra: normale/destra: composizione della profondità (200x)

Sinistra: normale/destra: composizione della profondità (150x)
Osservazione dei modelli di corrosione senza regolazione dell'illuminazione
Problemi tradizionali con i microscopi
L'osservazione di parti metalliche corrose rende difficile estrarre le condizioni di illuminazione e richiede una ripetuta regolazione dell'illuminazione prima di osservare i modelli di corrosione. Il risultato è che questa osservazione richiede molto tempo e risorse.
Con il microscopio digitale 4K Serie VHX
Premendo un pulsante, la funzione di illuminazione multiangolare consente di ottenere rapidamente più immagini con illuminazione da tutte le direzioni. Selezionando semplicemente l'immagine più adatta all'osservazione, è possibile eseguire l'osservazione utilizzando un'immagine chiara.
Questa funzione elimina il tempo e le risorse tradizionalmente impiegati per estrarre le condizioni di illuminazione e consente una rapida osservazione con immagini ad alta definizione in condizioni di illuminazione ottimale.
Inoltre, altri dati di immagini con illuminazione multiangolare vengono salvati automaticamente anche dopo la selezione dell'immagine di osservazione, in modo che l'osservazione possa essere eseguita in condizioni di illuminazione diverse semplicemente riselezionando un'immagine. Questa funzione consente di eliminare il tempo e lo sforzo necessari per posizionare nuovamente il campione sul piatto e regolare nuovamente l'illuminazione.


Un microscopio che cambia i test di corrosione
Oltre alle funzioni qui presentate, il microscopio digitale 4K ad alta definizione della Serie VHX è dotato di molte altre funzioni utili per analisi e test.
Oltre all'osservazione ad alta definizione delle parti corrose, la Serie VHX consente di eseguire misure 2D e 3D altamente accurate anche inferiori al micron e di misurare automaticamente le aree, utili per la valutazione quantitativa dei bordi dei grani.
Inoltre, con la Serie VHX è sufficiente una sola unità per completare l'osservazione, la misurazione, l'analisi e la creazione di report.
Per ulteriori informazioni sui prodotti o richieste di informazioni, fare clic sui pulsanti sottostanti.



