Norme industriali internazionali e GD&T
Accanto alla globalizzazione delle attività industriali, la standardizzazione internazionale sta progredendo nell'area del disegno tecnico e gli standard nazionali vengono periodicamente rivisti per allinearli a quelli internazionali.
Gli inizi della normalizzazione
Le disposizioni per la standardizzazione dei disegni hanno avuto inizio nel 1938 con il Principio di Taylor, che mirava a controllare la tolleranza di forma (deviazione di forma) con la tolleranza dimensionale per il collegamento a vite.
In seguito, l'indicazione del controllo delle tolleranze di forma e localizzazione è stata discussa negli USA, in Canada e nel Regno Unito, discussione a cui ha fatto seguito quella sull'approccio della tolleranza geometrica a sostituzione delle descrizioni tradizionali.
Normalizzazione ISO
Dal 1950, la ricerca è progredita con l'utilizzo dei simboli della tolleranza geometrica nei disegni, le definizioni dei datum e il requisito di massimo materiale. Nel 1985, l'ISO ha adottato il principio di indipendenza.
L'ISO lo definisce come segue:
- ISO 8015 "Principio di indipendenza"
-
Ciascuna tolleranza dimensionale o geometrica specificata sul disegno deve essere considerata in maniera indipendente, a meno che non sia specificato un particolare rapporto.
- Le tolleranze dimensionali non controllano le deviazioni della forma.
- Le deviazioni della forma sono controllate dalle tolleranze geometriche.
- La tolleranza lineare controlla solamente le dimensioni locali effettive (misurazione a due punti) di una feature.
Normalizzazione USA
L'organizzazione per gli standard americana è passata da ASA e ANSI a ASME, ma tutte le organizzazioni hanno adottato il principio di inviluppo. Il principio di inviluppo è il concetto secondo cui la dimensione con tolleranza indicata controlla anche le caratteristiche geometriche se il target è una feature of size. Ciò significa che, in conformità alle disposizioni ASME, diversamente da ISO, che indicano che le tolleranze dimensionali e geometriche vengano definite separatamente per una feature of size, un'indicazione della tolleranza dimensionale serve anche da indicazione della tolleranza geometrica.
- ASME Y14.5-2009 "Principio di inviluppo"
- La dimensione con tolleranza indicata controlla anche le caratteristiche geometriche di una feature of size.
Anche l'ASME ha adottato il simbolo di indipendenza nel 2009. Quando non si applica il principio di inviluppo, si applica il principio di indipendenza utilizzando un simbolo originale; ASME sta diventando più coerente con ISO in termini di indicazione.
Confronto tra ISO e ASME
Sia l'ISO che l'ASME sono attive nella ricerca della standardizzazione, mirando alla globalizzazione dei disegni. Ciononostante, esistono ancora alcune differenze nei simboli e nelle annotazioni. Occorre prestare attenzione nella lettura e nella creazione dei disegni.
Differenze nei simboli
Alcuni simboli sono diversi tra gli standard ISO e ASME. Poiché alcuni sono attualmente sotto esame per l'unificazione, occorre verificare le informazioni più recenti per questi standard.
- Tolleranza sul profilo disposto in modo ineguale
- ASME: ISO: UZ
- Limite di massimo materiale
- ASME: ISO: Nessuno
- Limite di minimo materiale
- ASME: ISO: Nessuno
- Piano di contatto
- ASME: ISO: Nessuno
- Movimento parallelo
- ASME: ISO: Nessuno
- Lamatura
- ASME: ISO: Nessuno
- Tolleranza statistica
- ASME: ISO: Nessuno
- Feature continua
- ASME: ISO: Nessuno
- Datum target mobile
- ASME: ISO: Proposto
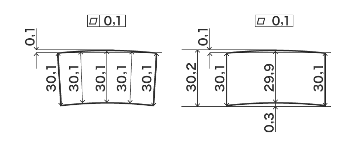
Differenze di interpretazione
I dettagli di controllo potrebbero differire anche quando le indicazioni sono uguali. Di seguito è riportato un esempio, ma esistono altre differenze nelle indicazioni e nei concetti. Per maggiori informazioni, fare riferimento alla letteratura tecnica.

- ISO
- La tolleranza dimensionale e la tolleranza geometrica sono indipendenti l'una dall'altra. Pertanto, la tolleranza geometrica (planarità) rientra nel valore indicato (0,1) senza essere influenzata dalla tolleranza dimensionale.

- ASME
- Questo disegno mostra una feature dimensionale composta da due piani paralleli, perciò il principio di inviluppo è applicato. Il valore della tolleranza geometrica (planarità) cambia in base alla condizione di materiale. Il limite della condizione di massimo materiale (30,1) supera la tolleranza dimensionale.



