Tipi principali di datum feature
Una datum feature può essere un piano, una linea o un punto: questi vengono utilizzati selettivamente a seconda della tolleranza e della feature che si vuole specificare.
Piano datum
Un piano datum è un piano sul target che viene impostato come datum. Può essere un piano esterno al target (piano datum) o un piano centrale (piano centrale datum).
Il "piano datum" viene definito come segue negli standard ISO e ASME:
- ISO 5459: 2011
- Un datum che è rappresentato da un piano teoricamente esatto.
- ASME Y14.5-2009
- Il piano di un simulatore di datum feature stabilito dalla datum feature.
Piano datum
Un piano datum è un datum impostato su una superficie esterna di un target. Per utilizzare una superficie piatta come datum, si utilizza il seguente simbolo di indicazione:
Simbolo di indicazione

Impostazione del datum

- a
- Datum feature simulata = Superficie della piastra di superficie
- b
- Datum = Piano stabilito dalla piastra di superficie
La superficie del target (datum feature) indicata come datum potrebbe essere irregolare o distorta. Il piano datum A può essere stabilito supportando la superficie impostata come datum utilizzando una piastra di superficie o un altro piano con maggiore precisione. Il piano di supporto è la datum feature simulata.
Piano centrale datum
Un piano centrale datum è il piano teorico impostato su un piano centrale del target. Per utilizzare il piano centrale di due superfici parallele come datum, si utilizza il seguente simbolo di indicazione:
Simbolo di indicazione

Impostazione del datum

- a
- Datum feature simulata = Due superfici di contatto piatte
- b
- Datum = Piano stabilito da due superfici di contatto piatte
Come per il piano datum, la superficie del target (datum feature) specificata come datum può essere non uniforme o deformata. Il piano centrale datum può essere stabilito supportando la superficie impostata come datum utilizzando su entrambi i lati piano di precisione. I due piani di supporto sono le datum feature simulate. Il piano teorico generato da queste feature è il piano centrale datum.
Linea datum
Una linea datum è la linea retta teorica stabilita al centro di un foro cilindrico o di un albero cilindrico o su una cresta, come il bordo del target. Una linea datum può essere un asse datum o una linea dell'asse datum. Una linea datum viene generalmente stabilita al centro del foro cilindrico o dell'albero cilindrico del target e viene raramente stabilito su una cresta. Questa sezione spiega i casi in cui un asse datum viene stabilito su un foro cilindrico e su un asse del cilindro. L'"asse datum" viene definito come segue negli standard ISO e ASME:
- ISO 5459: 2011
- Un datum che è rappresentato da una linea retta teoricamente esatta.
- ASME Y14.5-2009
- L'asse di un simulatore di datum feature stabilito dalla datum feature.
Asse datum (foro del cilindro)
Un datum stabilito al centro di un foro cilindrico si indica utilizzando il seguente simbolo:
Simbolo di indicazione

Impostazione del datum

- a
- Datum (linea dell'asse datum) = Linea dell'asse del cilindro massimo inscritto
- b
- Datum feature simulata = Cilindro massimo inscritto
La superficie del foro del cilindro del target specificato come datum (datum feature) potrebbe essere irregolare o distorta. Inserendo un albero di precisione che entra con esattezza nel foro, è possibile stabilire un datum nel foro. In questo modo, l'albero inserito diventa la datum feature simulata e la linea dell'asse è la linea dell'asse datum.
Asse datum (albero del cilindro)
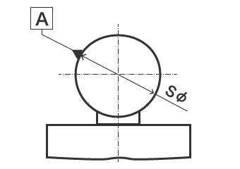
Un datum stabilito al centro di un albero cilindrico si indica utilizzando il seguente simbolo:
Simbolo di indicazione

Impostazione del datum

- a
- Datum (linea dell'asse datum) = Linea dell'asse del cilindro minimo circoscritto
- b
- Datum feature simulata = Cilindro minimo circoscritto
La superficie dell'albero cilindrico del target specificato come datum (datum feature) potrebbe essere irregolare o distorta. Inserendo l'albero in un alloggiamento di precisione che aderisce all'albero, è possibile stabilire un datum nell'alloggiamento. In questo modo, l'alloggiamento è la datum feature simulata e la linea dell'asse è la linea dell'asse datum.
Punto
Un punto datum stabilito al centro di un target sferico viene indicato con il seguente simbolo:
Simbolo di indicazione

Impostazione del datum

- a
- Datum = Centro della sfera minima circoscritta
- b
- Datum feature simulata = Quattro punti di contatto del tipo blocco a V (espresso come sfera minima circoscritta)
La superficie sferica del target specificato come datum (datum feature) potrebbe essere irregolare o distorta. Quando quattro punti di contatto sono realizzati con due blocchi a V, la superficie della sfera della datum feature è la datum feature simulata e il centro è il punto datum.


